
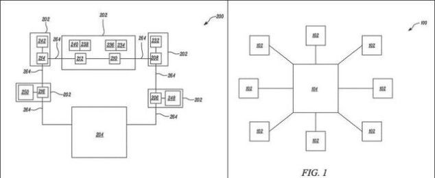
從特斯拉公布的專利圖可以看出,布線系統結構包括雙向主干電線布局,新車往返處理器的環路,同時主干網可以作為兩個獨立環路運行,這意味著主干網一部分發生故障后,所有設備的數據仍然可以發送到處理器和從處理器上發出。
設備內的每個集線器還通過主干串聯或并聯連接到其他集線器,如果設備中的一個集線器發生故障,其他集線器仍然可以傳輸到主干網,從而傳輸到處理器。除此之外,這種新架構相對于傳統系統的優點還在于,采用了較少的電線進行連接。

特斯拉指出,這項專利可用于多種車輛,包括卡車,這表明特斯拉可能打算將該架構用作未來所有FSD的標準設置。此外,通過拓展架構,這個系統還可能在農業、航海和其他工業中應用。




















